PC Based Flight Simulators Part II

Russ Erb

Originally published February 1993

When I last left you, you were running around looking for your Mastercard so you could pick up the phone to order Azuresoft ELITE, a CH Flightstick, and a MAXX Pedal. Soon you'll be all set to practice those IFR approaches and be ready for weather like we've had here lately.

Unfortunately, you've noticed that there are no semi-realistic throttle controls available. Well, your worries are over. In this article, I will present sufficient information for you to create your own throttle control. After all, isn't making your own a big part of homebuilding?

Before setting out to design a throttle control, I needed to figure out how the joysticks work. As it turns out, joysticks are incredibly simple. Each axis of the joystick is a 100K ohm potentiometer. The game port in the computer is an A/D converter. The buttons on the joystick are simple switches. Table 1 lists the pin assignments for the game port at the computer.

Table 1. Game Port Pin Assignments
PinAssignment
1Longitudinal and Lateral Ground Joystick 1
2Button 1 Joystick 1
3Lateral Control Joystick 1 (Ailerons)
4Button Ground Joystick 1
5Button Ground Joystick 1
6Longitudinal Control Joystick 1 (Elevators)
7Button 2 Joystick 1
8Unused
9Longitudinal and Lateral Ground Joystick 2
10Button 1 Joystick 2
11Lateral Control Joystick 2 (Rudder)
12Button Ground Joystick 2
13Longitudinal Control Joystick 1 (Throttle)
14Button 2 Joystick 1
15Unused

Note that the game port supports two joysticks. Each joystick is wired as shown in Table 1 for pins 1-7. The two joysticks are connected to the game port by a Y-cable, which is wired as shown in Figure 1.

Figure 1. Y-Cable wiring.

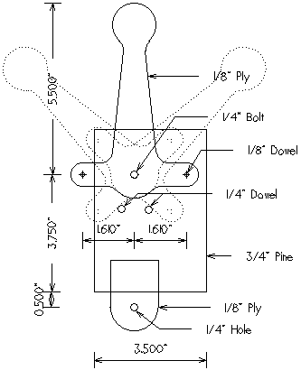
Enough with the joystick theory! You're probably getting ancy to start building. Figure 2 show the basic layout of the throttle control. In general, the control consists of a throttle arm connected to a 100K ohm pot by strings and pulleys. The only dimension that is critical in the design is the distance from the throttle arm pivot to the string attach points (1.610"). This distance will give the full scale rotation on the pot for a 90° rotation of the throttle arm.

Figure 2. Throttle Side View

Figure 3. Throttle Side View

First, the throttle lever. I made mine out of 1/8" aircraft plywood, mainly because I had some. You can make yours as fancy as you like. The throttle arm is attached to the base with a 1/4" bolt, with a washer under the bolt head (can be eliminated if a carriage bolt is used), between the throttle arm and the base, and between the throttle arm and the nuts. Tighten the first nut to give the desired friction, then holding the first nut with a wrench, tighten a jam nut against it to hold it in place. Make this one pretty tight, so it won't loosen when you move the throttle lever.

I used short 1/8" dowel pegs in the throttle arms to attach the strings to. Tie the strings to the pegs and anchor them with a dab of white glue. Don't drill the 1/4" holes for the dowel stops yet.

The 100K ohm potentiometer (Radio Shack 271-092, Linear Taper) is mounted on a piece of 1/8" aircraft plywood, which is glued to the base. Prior to mounting the potentiometer, thread the shaft with a 1/4-20 die. Be sure to clamp the shaft, not the base of the pot while threading. I used a small pair of vise grips to hold the shaft first, until the die would not go any farther. Remove the vise grips and lightly clamp the end of the shaft in a vise, and thread as far down the shaft as possible. Removing the die should repair any damage to the threads from the vise. Note that the shaft is only 6 mm, or 0.236", so the threads will look a little flat.

Mount the potentiometer on the mounting plate, then screw on one nut as far down the shaft as possible. Don't over-torque it, lest you strip the aluminum threads. Drill one 1/8" hole near the edge (1/8" edge distance) in two of the fender washers. Stack on the potentiometer shaft (in this order) one fender washer with hole, two regular washers, one fender washer, two regular washers, then one fender washer with hole. Follow this with two nuts.

Tighten the first nut just enough to keep the washers together, but loose enough that the washers can still be turned. Wrap the string from the right arm around the inner pulley two times and tie it off in the hole near the edge of the fender washer. Do the same with the other string around the outer pulley. Of course, the two strings have to wrap in opposite directions. Center the potentiometer and throttle lever. Turn the washers in opposite directions to tighten the strings, then tighten the first outer nut to immobilize the washers (don't strip the threads). Tighten a jam nut against this nut. Determine the limits of travel of the throttle lever, and install the dowel stops.

Now to connect the throttle to the computer. Rather than destroying your joystick cable, just make a little patch cable. Visit a computer parts store and pick up one each male and female DB-15 connectors (with hoods), a short piece (about 6-12 inches) of cable with at least 11 conductors and preferably with a shield, and 6 feet or more of shielded 2 conductor cable (Radio Shack 278-512 or 278-513). Wire it up according to Figure 3. Be sure to attach the 2 wire cable to the base of the throttle control for strain relief. Attach the shield to the D-section around the pins. Remember, use the female connector at the joystick end and the male connector at the computer end. If you mess this up, make sure no one is around when you discover your mistake. After soldering about 30 little bitty connections, you'll probably invent some new expletives!

Figure 4. Throttle control wiring

That's about it. I've given you the technical details to create your own, with enough latitude to design the rest of it. It's up to you to figure out how to attach it to your "cockpit."

Related Articles:

PC Based Flight Simulators, Part I - Review of Microsoft Flight Simulator and Azuresoft ELITE

PC Based Flight Simulators, Part III - Review of a newer version of ELITE


EAA Chapter 1000 Home Page
E-Mail: eaa1000@pobox.com

Contents of The Leading Edge and these web pages are the viewpoints of the authors. No claim is made and no liability is assumed, expressed or implied as to the technical accuracy or safety of the material presented. The viewpoints expressed are not necessarily those of Chapter 1000 or the Experimental Aircraft Association.
Revised -- 22 February 1997